首页 快讯文章正文

好名字!天府证券

快讯 2025年06月03日 23:00 39 admin

  炒股就看金麒麟分析师研报,权威,专业,及时,全面,助您挖掘潜力主题机会!

  来源:券业行家

  将在今年8月迎接开业24周年的川籍券商宏信证券,刚刚更名为天府证券。距上次更名,已经过去了13年。

  悄然更名

  整理券商信息的行家,意外发现关注列表中的宏信证券,已经悄然更名为天府证券。

  企查查显示,2025年5月30日,“宏信证券有限责任公司”变更为“天府证券有限责任公司”。

好名字!天府证券

  打开后缀名为“hxzq.cn”的官网,“宏信证券”的标志尚未变更。旗下43家分支机构的更名换证流程,可能尚需时日。

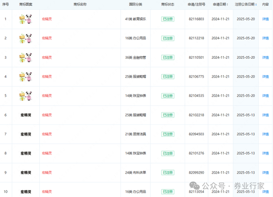
  行家注意到,宏信证券自2024年11月以来已申请注册了多款“宏精灵”商标,单是今年5月20日就有5款图形商标注册。后续是否会有以“天府”为主体的商标申请,值得期待。

好名字!天府证券

  川籍券商

  作为四家注册地在四川的券商之一,天府证券前身是成立于2001年的“和兴证券有限责任公司”,由四川信托等六家信托机构组建。2012年11月,更名为宏信证券,寓意“宏图兴川,信守自达”。

  时隔13年,再次更名的天府证券,正在申请变更控股股东和实控人。

  官网显示,宏信证券由四川信托控股60.376%。今年3月,成都市中级人民法院裁定终结四川信托重整程序。

  宏信证券2024年报坦言:受外部市场及其他特殊因素影响,公司经营“继续面临诸多困难”。全年营业收入4.69亿元,同比增长5.76%;净利润为1.23亿元,同比增长18.55%。截至2024年末,公司总资产111.57亿元,较上年末增长23.18%;净资产26.89亿元,较上年末增长5.50%。

  作为西南地区的资深券商,全新更名的天府证券,预计将继续秉承“专业、高效、务实、创新”的经营理念,扛起“财富增值服务商”的总体战略定位。

标签: 天府 名字 证券

上海衡基裕网络科技有限公司,网络热门最火问答,网络技术服务,技术服务,技术开发,技术交流www.zhengdongtiyu.com正东体育 备案号:沪ICP备2023039794号 内容仅供参考 本站内容均来源于网络,如有侵权,请联系我们删除QQ:597817868