首页 快讯文章正文

发生了什么?红杉、高瓴“裸退”蔚来汽车关联公司

快讯 2024年11月22日 19:45 30 admin

  炒股就看金麒麟分析师研报,权威,专业,及时,全面,助您挖掘潜力主题机会!

  近期,红杉中国和高瓴退股“蔚来资本”下属私募机构——湖北长江蔚来新能源投资管理有限公司(简称“湖北长江蔚来”)。

  湖北长江蔚来成立于2016年。蔚来汽车创始人、董事长李斌担任湖北长江蔚来的董事长,同时任蔚来资本管理合伙人。

  蔚来资本对此回应,上述退出操作是根据“资产管理产品合计出资比例不得高于25%”的合规要求作出的。但至于为何“完全退出”,目前三方均未回应。

  中国证券报了解到,红杉中国和高瓴本次退出后,将不再不参与湖北长江蔚来的治理和分红。但二者仍为湖北长江蔚来旗下基金——湖北长江蔚来新能源产业发展基金的普通合伙人,或将继续参与基金的投资决策。

  数据显示,成立7年来,湖北长江蔚来新能源产业发展基金对外投资金额不超过12亿元,曾投资的富特科技目前浮盈4.7亿元。

  红杉和高瓴退股

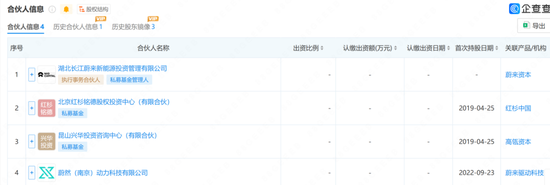
  11月22日,记者从天眼查获悉,湖北长江蔚来近日发生工商变更,原股东红杉中国旗下北京红杉铭德股权投资中心(有限合伙)(简称“红杉铭德”)、高瓴资本旗下昆山兴华投资咨询中心(有限合伙)(简称“昆山兴华”)退出,湖北长江蔚来注册资本由约1.8亿元减至1亿元。

发生了什么?红杉、高瓴“裸退”蔚来汽车关联公司

  来源:天眼查

  同时,湖北长江蔚来多位高管发生变更。其中,董事富欣、魏裕、黄立明等人退出,新增李尧、高岗为董事。

  公开资料显示,湖北长江蔚来主要由宁波保税区蔚旭企业管理有限公司和蔚然(南京)动力科技有限公司持股。李斌直接持有宁波保税区蔚旭企业管理有限公司33.33%股权,蔚然(南京)动力科技有限公司是李斌控股上市公司蔚来汽车的全资子公司XPT Limited的全资孙公司。

发生了什么?红杉、高瓴“裸退”蔚来汽车关联公司

  图片来源:企查查

  蔚来资本回应

  蔚来资本回应中国证券报称,根据2023年9月1日生效的《私募投资基金登记备案办法》及其配套指引规定:“资产管理产品不得作为私募基金管理人主要出资人,对私募基金管理人直接或者间接出资比例合计不得高于25%。”私募基金管理人湖北长江蔚来的股东中包含红杉铭德、昆山兴华,这两位股东均为私募股权基金产品。

发生了什么?红杉、高瓴“裸退”蔚来汽车关联公司

  图片来源:私募投资基金登记备案办法

  根据上述合规要求,红杉中国、高瓴以减资方式退出湖北长江蔚来的管理工作。退出后,湖北长江蔚来的注册资本降为1亿元,而红杉铭德、昆山兴华两只私募产品在私募基金中的合伙份额仍然保留,在基金投资决策委员会的席位仍然保留,不影响基金日常运营。

  总结而言,根据相关要求,红杉中国、高瓴旗下的私募基金产品不得成为湖北长江蔚来这一私募机构的主要出资人,因此退股。相关私募人士对记者表示,退股后,红杉中国、高瓴将不再是湖北长江蔚来这一私募机构的股东,不参与管理公司的治理和分红。

  但根据相关规定,红杉中国、高瓴旗下的私募基金产品只需要将合计持股比例减至25%以下即可。对于为何完全退出,截至记者发稿前,蔚来资本、红杉中国、高瓴投资并未回复。

  目前,红杉中国和高瓴旗下的私募基金产品仍然是湖北长江蔚来旗下私募基金的普通合伙人。

  企查查数据显示,目前,湖北长江蔚来旗下仅有一只私募股权基金——湖北长江蔚来新能源产业发展基金。上述提到的红杉中国、高瓴旗下的私募基金产品现在仍为湖北长江蔚来新能源产业发展基金的持股方,即普通合伙人。

  相关私募人士对记者表示,普通合伙人或参与基金的投资决策等日常管理工作,但参与程度需要按照基金投资决策委员会的设定,与持股比例可以没有关系。

  湖北长江蔚来新能源产业发展基金

  持股信息

发生了什么?红杉、高瓴“裸退”蔚来汽车关联公司

  来源:企查查

  成立7年对外投资不超过11.5亿元

  中国证券投资基金业协会官网显示,湖北长江蔚来新能源产业发展基金成立于2017年,结合公开信息,基金成立时的出资额为45.69亿元,目前,该基金实缴资本低于注册资本25%或低于200万元。

  按照25%的比例,若以基金成立时的出资额为45.69亿元计算,目前,湖北长江蔚来新能源产业发展基金的实际出资或不超过11.5亿元。

发生了什么?红杉、高瓴“裸退”蔚来汽车关联公司

  来源:中国证券投资基金业协会

  一般来说,在基金期限上,国内私募股权投资基金“5+2”(7年)最为常见,5年为投资期,后面2年为退出期。因此,湖北长江蔚来新能源产业发展基金或已处在退出期。

  企查查数据显示,湖北长江蔚来新能源产业发展基金直接投资项目有两个——奥动新能源和富特科技,对外投资基金共7只。

  其中,富特科技已于今年9月4日在深交所创业板上市。Wind数据显示,截至9月30日,前述基金仍持有富特科技1182.24万股,占总股本比例为10.65%。按照11月21日收盘价41元/股计算,湖北长江蔚来新能源产业发展基金持股市值为4.85亿元,相较其最早投资的1182万元浮盈超过4.7亿元。

  湖北长江蔚来新能源产业发展基金

  投资富特科技的初始资金

发生了什么?红杉、高瓴“裸退”蔚来汽车关联公司

  来源:企查查

  公司官网显示,蔚来资本成立于2016年。作为一家私募股权投资机构,蔚来资本聚焦低碳化、数字化的技术和模式创新所带来的产业变革,重点围绕新能源、汽车和硬科技领域进行投资。

标签: 红杉 关联 发生

上海衡基裕网络科技有限公司,网络热门最火问答,网络技术服务,技术服务,技术开发,技术交流www.zhengdongtiyu.com正东体育 备案号:沪ICP备2023039794号 内容仅供参考 本站内容均来源于网络,如有侵权,请联系我们删除QQ:597817868