首页 快讯文章正文

新吉奥房车拟香港上市 华泰国际独家保荐

快讯 2024年12月03日 14:00 40 admin

  来源:瑞恩资本RyanbenCapital

新吉奥房车拟香港上市 华泰国际独家保荐

  2024年11月29日,总部位于浙江嘉兴的新吉奥房车有限公司 New Gonow Recreational Vehicles Inc.(简称“新吉奥房车”)在港交所递交招股书,拟在香港主板挂牌上市。这是继其于2024年5月28日递表失效后的再一次申请。

  新吉奥房车,于2024年9月6日获中国证监会境外发行上市备案通知书,拟发行不超过2.76亿股境外上市普通股。

新吉奥房车拟香港上市 华泰国际独家保荐

  新吉奥房车招股书链接:

  https://www1.hkexnews.hk/app/sehk/2024/106939/documents/sehk24112901630.pdf

新吉奥房车拟香港上市 华泰国际独家保荐

  主要业务

  新吉奥房车,作为在澳洲和新西兰拥有广泛业务网络的领先房车公司,设计、开发、制造及销售定制拖挂式房车,根据弗若斯特沙利文的数据,按2023年的销量计,新吉奥房车在澳洲和新西兰房车行业的市场份额中位居第二。

  新吉奥房车以致力定制化服务为使命,为车主提供按单定制服务,个性化定制房车的各个细节,在舒适性、安全性、时尚性、创新性、功能性及性价比方面精心为车主群体提供最适合的房车方案,提供从概念化、设计挑选、定制、交付到各种售后服务的卓越、端到端车主体验。

  新吉奥房车在中国浙江的生产工厂占地面积约为47,567平方米,由焊接、喷漆、层压、裁剪、家俬五个专门车间及两条先进的组装线组成。此外,公司在澳洲的两条组装线承接公司房车的最终组装,其靠近当地市场的终端客户,使公司能够迅速满足客户对最后加工及定制要求的需求。

  新吉奥房车自2014年收购拥有30多年悠久历史的著名澳洲房车品牌Regent以来,已成为澳洲和新西兰房车行业的领先公司,拥有三个独特的品牌,包括中端最畅销品牌Snowy River、豪华品牌Regent、半越野品牌NEWGEN。

新吉奥房车拟香港上市 华泰国际独家保荐

  新吉奥房车开发并推出Regent旗下九款新车型、Snowy River旗下六款新车型、并升级SnowyRiver旗下21款车型。此外,新吉奥房车目前正开发拖挂式电动房车的开拓性车型。根据弗若斯特沙利文的数据,新吉奥房车是首批将电动房车方案商业化的房车专家之一。

  截至2024年6月30日,新吉奥房车的销售网络包括13家第三方经销店、两家自营店及在线官方网站,以及四家与澳洲和新西兰合营企业合作伙伴的合营店。遍布澳洲和新西兰的主要城市,包括墨尔本、悉尼、布里斯班、阿德莱德、珀斯、堪培拉、奥克兰及基督城,于各个地方均战略性地设有一到三家经销店、合营店及/或自营店。

  新吉奥房车的收入主要来自销售房车,其他少量收入来自辅助业务包括提供售后服务时销售房车零部件产生的收入。

  收入明细(按产品):

新吉奥房车拟香港上市 华泰国际独家保荐

  收入明细(按地区):

新吉奥房车拟香港上市 华泰国际独家保荐

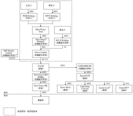
  股东架构

  招股书显示,新吉奥房车在上市前的股东架构中,

  以缪雪中先生为首的一组控股股东包括缪雪中先生、王丹红女士夫妇,及他们的女儿缪婉漪女士,通过SnowyLimited持股约99.17%。

  * SnowyLimited由缪雪中先生通过M.X.Z. Holdings持股1%,由缪雪中先生作为委托人设立的信托Miao Wanyi Trust拥有99%,该信托受益人为王丹红女士、缪婉漪女士各自全资拥有的公司。

  雇员持股平台NRV Benefit Limited,持股0.83%。

新吉奥房车拟香港上市 华泰国际独家保荐

  董事高管

  新吉奥房车董事会由7名董事组成,包括:

4名执行董事:缪雪中先生(董事会主席、首席执行官)、刘涛先生(首席财务官)、刘芹女士(总经理 - 中国)、Andrew Robert CRANK先生(总经理 - 澳洲);

3名独立非执行董事:余明阳先生、何洁女士、吴永蒨女士。

  公司业绩

  招股书显示,在过去的2021年、2022年、2023年和2024年上半年,新吉奥房车的营业收入分别为人民币2.997亿、4.99亿、7.20亿和4.22亿元,相应的净利润分别为人民币2508.0万、3295.6万、7876.8万和4043.0元。

新吉奥房车拟香港上市 华泰国际独家保荐

  中介团队

  新吉奥房车是次IPO的中介团队主要有:华泰国际为其独家保荐人;毕马威为其审计师;浩天、嘉源(香港)分别为其公司中国律师、公司香港律师;竞天公诚、竞天公诚(香港)为其券商中国律师、券商香港律师;弗若斯特沙利文为其行业顾问。

标签: 吉奥 华泰 保荐

上海衡基裕网络科技有限公司,网络热门最火问答,网络技术服务,技术服务,技术开发,技术交流www.zhengdongtiyu.com正东体育 备案号:沪ICP备2023039794号 内容仅供参考 本站内容均来源于网络,如有侵权,请联系我们删除QQ:597817868