首页 快讯文章正文

王健林,突传消息!

快讯 2025年01月15日 23:00 50 admin

  王健林又有新消息,涉及股权出质。

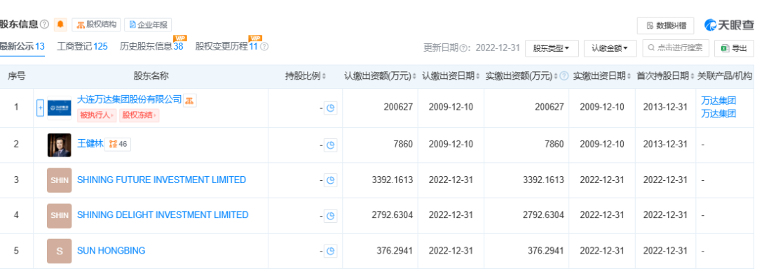
  天眼查显示,近日,王健林新增1条股权出质信息,出质股权标的企业为大连万达集团股份有限公司(简称“万达集团”),质权人为珠海万赢企业管理有限公司,出质股权数额为240万股。

王健林,突传消息!

  股权穿透显示,珠海万赢企业管理有限公司为大连万达商业管理集团股份有限公司(简称“万达商管”)的全资孙公司,而万达商管由万达集团、王健林、SHINING FUTURE INVESTMENT LIMITED等共同持股。

王健林,突传消息!

  此外,万达集团还存在多条股权冻结和股权出质信息,涉及万达商管、万达集团等公司的股权。

  万达商管已退出多家万达广场公司

  值得注意的是,天眼查App显示,1月10日,铜陵万达广场投资有限公司、宣城万达广场投资有限公司发生工商变更,原股东大连万达商业管理集团股份有限公司退出,新增坤华(天津)股权投资合伙企业(有限合伙)(简称“坤华股权投资”)为全资股东。

  据了解,坤华股权投资背后的主要出资人是新华保险。公开数据显示,坤华股权投资成立于2023年12月,由新华保险与中金资本共同设立。这只不动产私募股权基金的规模为100亿元,新华保险作为有限合伙人认购99.99亿元,中金资本作为普通合伙人认购100万元。中金资本负责基金的投资、管理及运营。过去一年,坤华股权投资已接盘多家万达广场。

  据《证券时报》报道,在业内人士看来,为缓解压力,王健林只能延续“卖卖卖”的模式。为了应对企业债务问题,出售资产无疑是万达回笼资金最直接、最迅速的方式。尽管万达集团出售资产有断臂求生的无奈,但加速向轻资产转型或是万达集团的既定战略。

王健林,突传消息!

  背后合作模式揭秘

  在这些项目中,双方采用何种合作模式?

  据《经济观察报》报道,一位工作于赤峰松山万达广场的工作人员表示,该公司易主之后,除部分核心管理层人士发生变化外,万达广场的经营并未发生变化,依然由万达商管在运营。

  一位接近相关万达广场项目合作的保险资管从业人士表示,险资作为出资人聘请专业机构成立投资基金,专业机构为基金管理人。在交易完成后,资产管理方如万达商管继续运营底层资产。该人士称,个别交易会引入新的运营方作为共同投资人来参与。

  上述保险资管从业人士表示,在行业下行周期,相比住宅开发项目、地产股这类投资标的,持有型商办资产具备更高的安全边际和长期投资价值。但市场上优质的项目并不好找,保险公司的目光从商业办公楼向商办综合体转移。由于负债刚性,保险出资人会对供求关系、出租率、租约稳定情况有着更高的要求。除了商办综合体,险资对物流仓储、工业产业园的投资也在增加。

  在许多业内人士看来,优质商业资产仍有较大发展潜力。中指研究院认为,商业地产投资方更加聚焦消费市场活跃、经济基础较好的核心一二线城市商业。一线城市购物中心存量规模已较大,2023年末城镇人均购物中心面积达1.01平方米,未来存量项目的竞争将更加激烈;二线城市城镇人均购物中心面积为0.89平方米,接近一线城市水平,未来或呈现存量与增量并行发展的格局。

  (声明:文章内容仅供参考,不构成投资建议。投资者据此操作,风险自担。)

  来源丨21财经客户端、天眼查、证券时报、经济观察报、公开信息

标签: 王健 消息

上海衡基裕网络科技有限公司,网络热门最火问答,网络技术服务,技术服务,技术开发,技术交流www.zhengdongtiyu.com正东体育 备案号:沪ICP备2023039794号 内容仅供参考 本站内容均来源于网络,如有侵权,请联系我们删除QQ:597817868